

قررت شركة "سوني" اليابانية إجراء بعض التعديلات على براءة اختراع جديدة، لماسح ثلاثي الأبعاد، يضع كائنات العالم الحقيقي في الواقع الافتراضي.
وأوضح موقع "جي إس إم آرينا" أن قرار سوني بإجراء بعض التعديلات على براءة الاختراع التي سجلتها يونيو الماضي، يرجع إلى نيتها إضافة مزيدٍ من التفاصيل والميزات والتقنيات بذلك الاختراع.
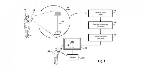
ويمكن استخدام اختراع سوني في نظارات الواقع الافتراضي، لدمج المحيط الحقيقي للشخص داخل واقع افتراضي جديد يحدده المستخدم بنفسه.
وسيتمكّن المستخدم من مسح أشياء أكبر من مجرد بعض الأشياء الصغيرة المحمولة باليد، والشرط الوحيد هو أن تكون قادراً على مسح الكائن بزاوية 360 درجة.
ولم تعلن "سوني" الموعد المتوقع لتزويد تلك التقنيات بنظارات الواقع الافتراضي المقبلة، لكن متوقع أن تعمل قريباً على دمجها في مختلف نظارات الواقع الافتراضي.